公司动态

了解最新公司动态及行业资讯

重金属污染土壤的移动式淋洗处理装置

2017-11-27 02:03:47 457 编辑:admin 来源:本站
    目前,有关生物修复方法的研究报道较多,尤其是植物修复。但是对于大面积轻度污染土壤,采用植物修复所需时间较长 ;对于突发性土壤重金属污染,高浓度污染水平不利于植物生长,因此效果不理想。化学法因简单易行、效果显著而得到广泛应用,但是化学法也存在二次污染、土壤质量下降等问题。
    土壤淋洗 (soil leaching /flushing /washing) 就是利用流体去除土壤污染物的过程 , 借助能促进土壤环境中污染物溶解或迁移作用的淋洗剂 , 通过水力压头推动淋洗剂 , 将其注入到被污染土层中 , 然后把含有污染物的淋出液从土层中抽提出来 , 进行污水处理而分离污染物的技术。
    土壤淋洗修复是借助能促进土壤环境中污染物溶解或迁移的化学 / 生物化学溶剂,利用重力作用或通过水力压头推动淋洗液注入被污染的土层中,然后把含有污染物的液体从土层中抽提出来,进行分离和污水处理的技术。该技术可用于处理土壤中的污染物有 :碳氢化合物、氯化烃、重金属、无机盐、有机农药等等。常用的淋洗液主要有水、稀释的酸碱液和表面活性剂溶液。该技术优势 :不需要土体位移,低处理费用,对土壤生态系统破坏较小,对于深层土壤修复成本较低,对于均匀,渗透性好的土壤处理效果更好。
    异位化学淋洗是将挖掘出来的污染土壤与淋洗液混合,投加到淋洗反应器中,并控制在一定条件下,通过搅拌等外力的辅助,使污染土壤和淋洗液发生作用,待土壤中的大部分污染物转移至液相后,将洗过的土壤分离出来,回填或作深度处理,富集了污染物的淋洗废液经过处理后排放或回用。
    目前,尚缺乏移动式重金属污染土壤淋洗处理设备,针对不同类型的污染场地,需要分别将中试设备和处理装置运到现场进行试验摸索,操作难度大。
    本实用新型的目的就是针对上述已有技术存在的不足,提供一种能降低淋洗处理液成本,且淋洗液可进行再生回收,不产生二次水污染,处理负荷能力大且能够连续运行,其移动效率高的重金属污染土壤的移动式淋洗处理装置。
    一、 本实用新型的目的是通过以下技术方案实现的。
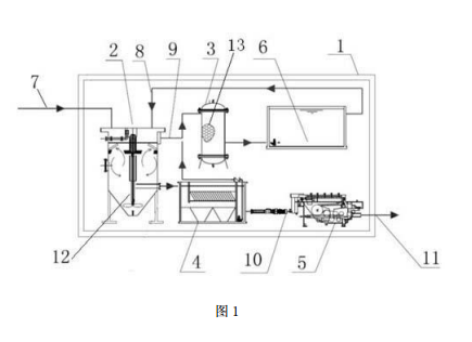
    重金属污染土壤的移动式淋洗处理装置,其特征在于其结构包括 :设置于集装箱式装置箱体内的土壤淋洗装置、树脂吸附装置、泥水分离装置、脱水装置和淋洗液配制槽 ;其中,
    土壤淋洗装置设有土壤进料管、淋洗液进液管和淋洗后泥浆排出管和淋洗后上清液溢流管 ;其土壤进料管穿过装置箱体侧壁 ;
    树脂吸附装置的进液管与土壤淋洗装置的淋洗后上清液溢流管联接、排液管与淋洗液配制槽联接 ;
    泥水分离装置的进料口与土壤淋洗装置的淋洗后泥浆排出管联接、分离水排出口与树脂吸附装置进液管联接、分离泥浆排出管联接有泥浆泵 ;
    脱水装置的进料管与泥水分离装置分离泥浆排出管上的泥浆泵联接、排泥管穿出装置箱体侧壁 ; 淋洗液配制槽的排液管与土壤淋洗装置的淋洗液进液管联接。
    本实用新型的重金属污染土壤的移动式淋洗处理装置,其特征在于其土壤淋洗装置采用带搅拌器的上流式循环流化床反应器。
    本实用新型的重金属污染土壤的移动式淋洗处理装置,其特征在于树脂吸附装置采用多种重金属吸附树脂作为填料,其填料树脂采用抽屉式。
    二、优点
    本实用新型的重金属污染土壤的移动式淋洗处理装置,可以对重金属污染的土壤进行处理时使用低成本的淋洗处理液,且整个工艺过程中淋洗液可进行再生回收,不对外界产生二次水污染 ;另外土壤淋洗反应器采用上流式循环流化床反应器,处理土壤负荷能力大且能够连续运行 ;整个处置设备系统处于标准集装箱内,使得该系统具有对重金属重度污染土壤及含重金属的危险废渣的快速处置能力,其移动效率和处理能力能满足短时间内对污染场地修复的要求,整个工艺过程节能、环保,不会对土壤和地下水产生二次污染。
    三、附图说明
  重金属污染土壤的移动式淋洗处理装置的结构示意图
    图 1 为重金属污染土壤的移动式淋洗处理装置的结构示意图。

30

装备制造经验

立即免费获取土壤修复方案

为用户提供及时、高效、便捷的服务

在线咨询
AG视讯环境希望与你携手,共创美好未来...
5