公司动态

了解最新公司动态及行业资讯

微波土壤热解吸设备

2017-10-10 02:06:43 253 编辑:admin 来源:本站
  目前常规热解吸设备通常存在以下缺陷 :
  (1) 采用热辐射传导的加热方式主要存在热效率低,土壤类型要求高,土壤粒径不能过大,须经过破碎筛分等缺点 ;
  (2) 微波加热应用于原位加热修复时,存在微波穿透深度不足的缺陷,当处理土壤厚度、面积较大时需要布置多个微波源点来完成整体加热 ;
  (3) 微波加热空气存在吸波性能差的特点,当诱导材料大量存在时,空气加热过程需要热辐射与传导,无法实现微波快速加热升温。
  本实用新型所要解决的技术问题是提供一种应用微波的“体加热”特性,可针对不同的土壤类型和高含水率土壤,实现全面快速加热与解吸修复土壤的微波土壤热解吸装置。
  一、技术方案 :
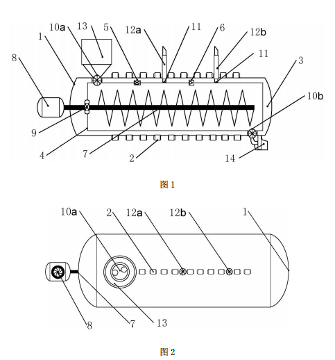
  本实用新型微波土壤热解吸装置,包括主壳体 1、反应管 4,反应管 4 安装在主壳体1 的内腔中,主壳体 1 上设置有微波发射单元 2,反应管 4 上安装有红外温度传感器 5、压力传感器 6 以及伸出主管体 1 外的抽提管,反应管 4 内部安装有绞龙 7,绞龙 7 的中轴伸出反应管 4 后与外置的电机 8 连接,主壳体 1 的两侧分别设有进料口 13 和出料口 14,进料口 13和出料口 14 通过星形阀与反应管 4 相连接,抽提管与反应器 4 的连接处设置有微波屏蔽网格 11。
  所述主壳体 1 中轴线与反应管 4 的中轴线重合。
  所述微波发射单元 2 以对称方式阵列于主壳体 1 的上下两侧,并与主壳体 1 切线成 90°垂直,上下两侧相对应的微波发射单元连线均经过绞龙 7 中轴,并与其成 90°垂直。
  所述反应管 4 与绞龙 7 的中轴连接处设置有密封轴承 9。
  所述抽提管设有两根,排布在主壳体 1 的中后部。
  本实用新型装置结构简单,能克服土壤热解吸中加热过程中热传导的梯度性、土壤颗粒要求细碎与分散性等热解吸应用局限,通过对热解吸装置进行改进,以内加热方式快速实现土壤的升温热解吸,并能处理粘性、大颗粒等类型土壤。
  本实用新型装置所用不锈钢材质具有防腐与反射微波的特性,能有效提高土壤升温速率与微波的利用率,对污染土壤进行直接加热,使土壤整体升温致污染物解吸出来,以达到土壤修复的目的。
  二、本实用新型与现有技术相比具有以下优点 :
  1、微波加热单元对称排列,每对加热单元的连线通过并 90°垂直于绞龙中轴,绞龙采用 316 不锈钢材料,兼具防腐蚀及反射微波的特性,微波加热单元发射的微波在壳体内进行反射,提高微波利用率,减少微波源的布置。
  2、抽提管连接尾气处理装置,对解吸气体进行无害化处理,抽提管前段设置有金属屏蔽网格,防止微波外泄。
  3、本实用新型在运行过程中反应管内全过程保持负压,防止解吸气体外泄,并提高热解吸效率,绞龙中轴与反应管连接处配有密封轴承。
  4、设置红外温度探测器于压力传感器对反应管进行实时监控与调节微波加热单元功率。
  三、附图说明
新型微波土壤热解吸装置的结构示意图
  图 1 是本实用新型微波土壤热解吸装置的结构示意图。
  图 2 是图 1 的俯视示意图。
  图中 :主壳体 1,微波单元 2,内腔 3,反应管 4,红外温度传感器 5,压力传感器 6,绞龙 7,电机 8,密封轴承 9,星形阀 10a,星形阀 10b,屏蔽网格 11,抽提管 12a,抽提管 12b,进料口 13,出料口 14。

30

装备制造经验

立即免费获取土壤修复方案

为用户提供及时、高效、便捷的服务

在线咨询
AG视讯环境希望与你携手,共创美好未来...
5