公司动态

了解最新公司动态及行业资讯

土壤表层板结破碎装置

2017-10-10 02:10:21 279 编辑:admin 来源:本站
  土壤板结是指土壤表层在降雨或灌水等外因作用下结构破坏,致使干燥后土壤保水、保肥能力及通透性降低,土料分散,土壤板结现象会导致作物减产,影响正常的农业生产,现有的土壤表层板结破碎装置效率低下,使用常规的破碎叶片难以破碎完全,使得破碎后仍有板结的存在,因此,急需一种破碎效率高、破碎效果好的土壤表层板结破碎装置,解决土壤板结的问题。
  有鉴于此,本发明提供一种破碎效率高、破碎效果好的土壤表层板结破碎装置。
  1、技术方案:
  一种土壤破碎装置,其中,包括:
  驾驶台:液压系统,所述液压系统设置在所述驾驶台上;
  发动机,所述发动机设置在所述驾驶台的前端,用于驱动所述驾驶台行驶、驱动所述液压系统工作;
  铲,所述铲设置在驾驶台的下侧,所述液压系统驱动所述铲动作;
  破碎铲,所述破碎铲设置在驾驶台的下侧,且所述破碎铲位于所述铲的后侧,所述液压系统驱动所述破碎铲动作:
  破碎轮,所述破碎轮设置在所述驾驶台的下侧,且所述破碎轮位于所述铲的前侧,所述破碎轮连接在所述液压系统的液压马达上,所述破碎轮包括基轮、若干个碾轮和若干组破碎锤,所述碾轮沿所述基轮的轴向设置在所述基轮的外周上,所述破碎锤设置在所述基轮的外周上。
  进一步地,若干个碾轮沿所述基轮的轴向均匀分布,若干组破碎锤沿所述基轮的轴向均匀分布,且每组所述破碎锤位于相邻两个碾轮之间。
  更进一步地,所述碾轮的轮毂边缘设置有基座,所述基座上设置有一对凸耳,一对凸耳之间具有开口和环形通道,所述开口和环形通道之间通过过孔贯通。  每组破碎锤包括若干个破碎锤,若干个破碎锤沿所述基轮的周向均匀分布。所述破碎锤包括左锤臂和右锤臂,所述左锤臂的一端和右锤臂的一
  端通过安装座连接,且所述左锤臂和右锤臂之间具有锤口。所述左锤臂的另一端设置有左锤头,所述左锤头的侧面设置有相互连接的凸刃和凹口。所述右锤臂的另一端设置有右锤头,所述右锤头的侧面具有斜刃。所述破碎铲包括主轴和套设在所述主轴上的若干个铲叶,所述主轴连接在所述液压系统的第二驱动液压缸上。所述铲叶包括安装套和转动片,所述安装套套设在所述主轴上,所述转动片固定设置在所述安装套上,所述转动片上设置有外侧刃。
  2、优点是:
  实用性较强,比传统的土壤表层板结破碎装置破碎效果好、破碎效率高,节省了人力物力。
  3、附图说明
土壤表层板结破碎装置土壤表层板结破碎装置
  在附图中:
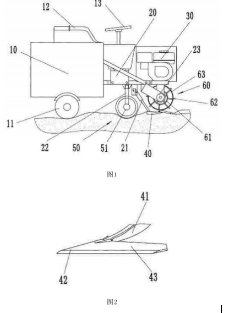
  图l是本发明的结构示意图。
  图2是本发明的铲的结构示意图。
  图3是本发明的破碎锤的结构示意图。
  图4是本发明的破碎锤的又一结构示意图。
  囹5是本发明的铲叶的结构示意图。
  图6是本发明的碾轮的局部剖视图。
  图中标记为:
  驾驶台-10、驱动轮-11、座椅-12、方向盘-13、液压系统-20、第一驱动液压缸- 21、第二驱动液压缸-22、液压马达-23、发动机-30、铲-40、铲柄- 41、铲尖-42、铲翼-43、破碎铲-50、主轴- 51、铲叶-52、前槽-521、前槽侧刃- 5211、转动片-522、端刃-523、外侧刃-524、分流槽-526、安装套-527、破碎轮-60、基轮-61、破碎锤-62、安装座- 621、左锤臂-622、左侧刃-6221、左锤头-623、凸刃-6231、凹口-6232、锤口一624、右锤臂-625、右侧刃-6251、右锤头-626、斜刃-6261、安装孑L-627、碾轮-63、轮毂-631、基座-632、凸耳-633、开口-634、过孔-635、环形通道-636。

30

装备制造经验

立即免费获取土壤修复方案

为用户提供及时、高效、便捷的服务

在线咨询
AG视讯环境希望与你携手,共创美好未来...
5