行业动态

了解最新公司动态及行业资讯

模块组装式土壤淋洗设备

2018-11-16 02:13:25 245 编辑:admin 来源:本站
   土壤淋洗技术是指将可促进土壤污染物溶解或迁移的化学溶剂注入受污染土壤中,从而将污染物从土壤中溶解,分离出来并进行处理的技术,土壤淋洗的作用机制在于利用淋洗液或化学助剂与土壤中的污染结合,并通过淋洗液的解析,溶解或固定等化学作用,达到土壤修复的目的。
土壤淋洗
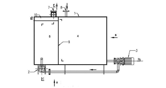
   一种受污染土壤淋洗装置,公开了一种模块组装式淋洗设备,包括淋洗罐、砂水分离装置和泵,淋洗罐内部设有隔板,隔板把淋洗罐分成澄清区和混合搅拌区,澄清区和混合搅拌区底部相连通;淋洗罐底部设有一个从澄清区到混合搅拌区往下的坡度;砂水分离装置设置在淋洗罐的外壁;砂水分离装置进口端与泵的出口通过管道连接;砂水分离装置出口直接接入澄清区;泵设在淋洗罐混合搅拌区的外部且与混合搅拌区通过管道连接;澄清区内设有溢流堰,溢流堰上设有一个溢流口;混合搅拌区上部设置有一个进料口。本实用新型的有益效果是:淋洗罐更加方便规模组装、澄清和混合一体,连续化运行。

30

装备制造经验

立即免费获取土壤修复方案

为用户提供及时、高效、便捷的服务

在线咨询
AG视讯环境希望与你携手,共创美好未来...
5